一、QZF-89全天候防凍防火呼吸閥呼吸量計算的設置目的與要求 在石油化工儲運系統中,罐區設計規范SHT 3007-2014明確指出了呼吸閥的設置目的與要求。呼吸閥作為常低壓儲罐的重要組成部分,其設置旨在確保儲罐在正常操作過程中的壓力穩定,防止因壓力波動而導致的安全問題。同時,它還具有通風、防爆等功能,對于保障儲罐的安全運行具有重要意義。在選用、安裝及維護過程中,必須嚴格遵循相關規范和標準,以確保呼吸閥能夠發揮其應有的作用。QZF-89全天候防凍防火呼吸閥采用抽屜防火結構,便于清洗及維護,是安裝在固定頂罐上的通風裝置,起減少油品蒸發損耗,控制儲罐壓力及阻止外界火焰傳入的作用。該閥具有通風量大,泄漏量小,耐腐蝕等特點,并有靜電接地線,使該閥與罐體保持等電位。該閥具有防凍性能,適用于寒冷地區。QZF-89全天候防凍防火呼吸閥采用抽屜防火結構,便于清洗及維護,是安裝在固定頂罐上的通風裝置,起減少油品蒸發損耗,控制儲罐壓力及阻止外界火焰傳入的作用。該閥具有通風量大,泄漏量小,耐腐蝕等特點,并有靜電接地線,使該閥與罐體保持等電位。該閥具有防凍性能,適用于寒冷地區。5.1.3 根據GB 50160-2008石油化工企業設計防火標準(2018年版)的規定,以下儲罐通向大氣的通氣管上必須設置呼吸閥: a) 用于儲存甲B、乙類液體的固定頂儲罐和地上臥式儲罐; b) 采用氮氣或其他惰性氣體進行密封保護系統的儲罐。 6.2.19 固定頂罐內存儲甲B、乙類液體時,應配備阻火器和呼吸閥;若儲罐采用氮氣或其他氣體進行氣封,則還需增設事故泄壓設備。呼吸閥在儲罐上扮演著至關重要的角色,它不僅關乎儲罐系統的安全與環保,更對物料儲存的經濟效益產生直接影響。通過合理選擇、安裝及維護呼吸閥,我們可以充分發揮其優勢,降低潛在風險。呼吸閥的具體作用包括: (1)防超壓與防真空:呼吸閥能自動調節儲罐內外的壓力差,確保儲罐在操作過程中不受過高或過低的壓力影響,從而防止罐體結構受損,如鼓包或塌陷。 (2)減少介質泄漏:揮發性介質在儲罐內隨溫度變化而膨脹或收縮,導致壓力波動。呼吸閥能迅速響應這些變化,降低介質蒸發和泄漏,進而減輕對環境的污染。 (3)與氣封系統協同作用:呼吸閥可與氮封或其他氣體封閉系統結合,進一步減少介質蒸發損失,并阻止外界空氣侵入,從而保持物料質量并防止化學反應。 (4)配合阻火器確保安全:阻火器用于防止外部火焰通過呼吸閥進入儲罐。呼吸閥與阻火器聯用,能有效預防因火花或火焰引發的介質點燃事故,確保儲罐安全。 
二、QZF-89全天候防凍防火呼吸閥呼吸量計算呼吸閥的構造與工作原理 呼吸閥是儲罐系統中的重要組成部分,其結構與工作原理對于確保儲罐的安全與環保性能至關重要。了解呼吸閥的內部構造和工作流程,有助于我們更好地發揮其作用,降低潛在風險。接下來,我們將深入探討呼吸閥的詳細構造及其工作時的基本原理。
標準規范 制造標準:GB5908-86;SY7511-87 法蘭標準:HG20592-97;JB/T78-94 檢驗標準:SY/T0511-1996《石油儲罐呼吸閥》;API2000 QZF-89全天候防凍防火呼吸閥呼吸量計算工作原理 
QZF-89全天候防凍防火呼吸閥利用正負壓閥盤的重量來控制儲罐的排氣正壓和吸氣負壓。當罐內介質的壓力在呼吸閥的控制操作壓力范圍之內時,呼吸閥不工作,保持油罐的密閉性;當往罐內補充介質,使罐內上部氣體空間的壓力升高,達到呼吸閥的操作正壓時,壓力閥被頂開,氣體從呼吸閥呼出口逸出,使罐內壓力不在繼續增高;當往罐外抽出介質,使罐內上部氣體空間的壓力下降,達到呼吸閥的操作負壓時,罐外的大氣將頂開呼吸閥的負壓閥盤頂開,使外界氣體進入罐內,使罐內的壓力不再繼續下降,讓罐內與罐外的氣壓平衡,來保護儲罐的安全裝置。 呼吸閥作為儲罐壓力控制的核心穩定裝置,其數量選型與安裝維護質量直接關系到儲罐運行穩定。依據SY/T0511-2010、API2000等標準要求,需結合儲罐工況、介質特性及環境條件制定標準化操作方案。以下從數量選型原則、安裝技術要求及維護管理規范三個維度展開論述。 呼吸閥產品需滿足SY/T 0511-2010標準規范,其構造示意圖如下:
2. 儲罐呼吸閥是安裝在儲存易揮發液體(例如石油、化學品等)的固定頂儲罐上的重要安全附件。其核心作用是維持儲罐內外的壓力平衡,從而防止因壓力波動導致的儲罐變形或損壞,并減少罐內液體的揮發損失。該呼吸閥的工作原理主要基于兩個方面:一是壓力釋放,當儲罐內溫度升高、氣體體積膨脹、壓力上升時,呼吸閥會自動開啟,釋放多余壓力,避免過壓損壞;二是真空吸入,當儲罐內溫度下降、氣體收縮、壓力降低時,呼吸閥同樣會打開,吸入外部空氣,防止真空度過高造成塌陷。 
三、QZF-89全天候防凍防火呼吸閥呼吸量計算呼吸閥的呼出與呼入壓力設定 通常,常壓儲罐的正常操作壓力維持在約500Pa(G),其設計壓力范圍為-500Pa至2000Pa(G)。根據相關標準,常壓儲罐一般選用C級呼吸閥,其呼氣壓力設定為980Pa。這樣的設定既能有效減少儲罐中易揮發物料的損失,又能確保儲罐不會面臨超壓的風險。 必須留意的是,若呼吸閥的排氣端管線較長,氣體流動時遭遇較大阻力,或吸閥排氣端管線存在液封,致使呼吸閥排氣端系統背壓升高,那么應選用呼出壓力較低的呼吸閥。因為儲罐的操作壓力等于呼吸閥的設定呼出壓力與呼出管網系統的背壓之和(包括動背壓和靜背壓),同時還要考慮呼吸閥結構特性可能導致的延遲起跳超壓。只有確保上述總和不超過儲罐的正壓設計壓力,才能有效避免儲罐因超壓而鼓脹的風險。 相反,若呼吸閥的排氣端管線直接與風機入口相連,且風機對呼吸閥排氣管網具有抽吸作用,導致管網壓力降低甚至出現負壓,那么應選用呼出壓力較高的E級呼吸閥,以抵消風機的抽負效應,從而減少儲罐內物料的揮發損失,并確保儲罐不受負壓風險的影響。此外,通常儲罐設計的耐負壓值為-500Pa,因此將儲罐吸閥的負壓吸入壓力設置為常規的-295Pa,即可保證儲罐免受負壓導致的憋罐問題。 
四、QZF-89全天候防凍防火呼吸閥呼吸量計算呼吸閥呼吸量計算 在遵循《石油化工儲運系統罐區設計規范》SH/T 3007-2014的基礎上,我們進行呼吸閥呼吸量的計算。這一規范為呼吸閥的設計和選型提供了重要的指導,確保儲罐的安全穩定運行。通過合理的計算,我們可以選擇適當的呼吸閥,以適應不同的工藝條件和安全要求。 5.1.4 呼吸閥的排氣壓力必須小于儲罐的設計正壓力,同時,進氣壓力則應高于儲罐的設計負壓力,以確保呼吸閥的正常工作。 5.1.6 通氣管或呼吸閥的通氣量必須足夠,以應對以下各項呼出量或吸入量的總和: a) 液體出罐時的出液量所引發的空氣吸入量,計算時應以液體出液量為依據; b) 液體進入固定頂儲罐時所產生的罐內液體氣體呼出量,對于閃點(閉口)高于45℃的液體,應按照進液量的1.07倍進行計算;而對于閃點(閉口)低于或等于45℃的液體,則應按照進液量的2.14倍進行計算。當液體進入采用氮氣或其他惰性氣體密封保護系統的內浮頂儲罐時,呼出量的計算同樣應以進液量為基準; c) 因大氣溫度的降幅導致的罐內氣體收縮所引發的儲罐吸入空氣量,以及因大氣溫度的幅導致的罐內氣體膨脹所引發的呼出氣體量,這些數據宜參照表5.1.6進行確定。 
一、呼吸閥數量選型原則 1.呼吸量計算方法 基礎公式法: 儲罐呼吸量計算公式:Q=18.81×(V/Δt)0.5×u-0.5 其中Q為通氣量(m3/h),V為儲罐容積(m3),Δt為壓力變化時間(h),u為氣體流速(3-5m/s) 示例:5000m3儲罐,壓力變化時間1h,流速4m/s,計算得Q=210m3/h 工況修正系數: 閃點≤45℃介質:呼吸量需乘以2.14倍修正系數 氮封系統:呼吸量需考慮氮氣補充量(典型值0.5-1.0Nm3/h) 端溫差地區:增加20%余量系數 2.數量配置標準 單閥選型: DN100呼吸閥通氣量150-200m3/h DN150呼吸閥通氣量300-400m3/h 選型原則:單閥通氣量≥計算呼吸量×1.2 多閥配置: 當單閥通氣量不足時,采用對稱布置雙閥方案 雙閥配置間距≥2m(避免氣流干擾) 典型案例:10000m3儲罐配置2臺DN200呼吸閥 
五、QZF-89全天候防凍防火呼吸閥呼吸量計算呼吸閥的選用 在確定了呼吸量Q(以m3/h為單位)后,我們可以根據氣體流速u在3~5m/s的范圍內進行考慮。通過公式d=18.81V0.5u-0.5,我們可以計算出呼吸閥進出口的管徑。隨后,通過向上圓整,我們可以選擇適當的閥門尺寸。特別需要注意的是,當呼吸閥與阻火器聯合使用時,必須考慮阻火器的壓降影響。 市場上常見的呼吸閥規格連接法蘭公稱通徑DN包括:50mm、80mm、100mm、150mm、200mm、250mm、300mm以及350mm。同時,我們還需要根據呼吸閥的工作溫度進行選擇。呼吸閥可分為全天候型與普通型,前者適用范圍為-30℃~60℃,型式代號為Q,而后者適用操作溫度為0℃~60℃,型式代號為P。結合上述尺寸與工作溫度的考量,我們將能夠選出設計工況的呼吸閥。

QZF-89全天候防凍防火呼吸閥呼吸量計算操作壓力 等級 | A | B | C | D | 呼出壓力 | +355Pa(36mmH2O) | +980Pa(100mmH2O) | +1765Pa(180mmH2O) | 由用戶定 | 吸入壓力 | -295Pa(30mmH2O) | -295Pa(30mmH2O) | -392Pa(40mmH2O) |
|
通氣量表 代號 | 規格mm | 50 | 80 | 100 | 150 | 200 | 250 | 壓力等級P | 通氣量m3/h | A | +355 | 25 | 60 | 90 | 190 | 340 | 500 | -295 | 20 | 50 | 75 | 160 | 280 | 450 | B | +980 | 30 | 70 | 100 | 200 | 380 | 600 | -295 | 20 | 50 | 75 | 160 | 280 | 450 | C | +1765 | 40 | 95 | 140 | 280 | 500 | 800 | -295 | 20 | 50 | 75 | 160 | 280 | 450 | 允許泄漏量m3/h | ≤0.04 | ≤0.4 |
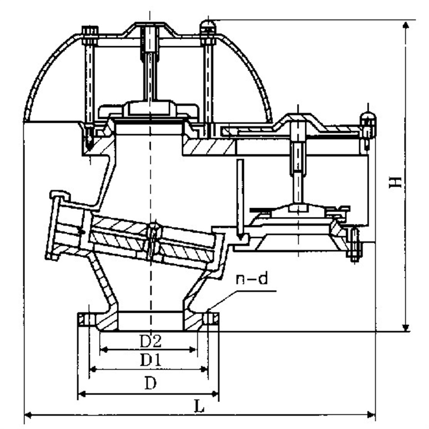
外形結構圖 
QZF-89全天候防凍防火呼吸閥呼吸量計算主要外形尺寸 公稱通徑DN | H | L | D | D1 | D2 | n-d | 50 | 320 | 320 | 140 | 110 | 100 | 4×14 | 80 | 366 | 400 | 190 | 150 | 135 | 4×18 | 100 | 380 | 420 | 210 | 170 | 155 | 4×18 | 150 | 450 | 520 | 265 | 225 | 210 | 8×18 | 200 | 520 | 600 | 320 | 280 | 265 | 8×18 | 250 | 600 | 680 | 375 | 335 | 320 | 12×18 | 300 | 650 | 750 | 440 | 395 | 375 | 12×23 | 350 | 700 | 850 | 490 | 445 | 425 | 12×23 | 400 | 750 | 930 | 540 | 495 | 475 | 16×23 |
六、QZF-89全天候防凍防火呼吸閥呼吸量計算呼吸閥的安裝與維護 
在安裝呼吸閥時,我們需要留意以下幾個關鍵點: 呼吸閥應安裝在儲罐頂部的點,這樣設計旨在確保在儲罐內壓力發生變化時,氣體能夠順暢地通過呼吸閥進行進出,從而維持儲罐內外的壓力平衡。若需安裝兩個呼吸閥,應采取對稱布置,以確保壓力的均衡分布,避免出現偏斜情況。 在氮封儲罐上安裝呼吸閥時,需特別注意氮氣管的位置,應確保其遠離呼吸閥接口,且接管應插入罐內至少200mm深度。這樣的設計旨在防止氮氣直接通過呼吸閥排出,進而保持儲罐內的氮封狀態,阻止空氣進入儲罐,從而減少所存儲物質的氧化反應。 若使用呼吸閥的地區最冷月份的平均氣溫低于或等于0℃,則呼吸閥必須配備防凍措施。這是為了防止呼吸閥閥盤因凍結或堵塞而導致儲罐排氣不暢或補氣不足,進而造成儲罐低壓或超壓等安全隱患。 在呼吸閥正確安裝后,為了保障其持續安全運行,應定期進行檢修與維護。建議至少每半年檢查一次呼吸閥的網面,看是否有堵塞或腐蝕現象。若發現堵塞,應及時清理以保持網面清潔。同時,盡量每年對呼吸閥進行一次全面檢驗,以確保其操作壓力處于正常范圍內。對于年檢不合格的呼吸閥,應立即進行更換,以避免成為安全隱患,造成重大安全事故。 此外,為了進一步防止呼吸閥凍結或凝結,可以采取多種措施。例如,安裝加熱系統如電加熱器、蒸汽伴熱線或熱水循環系統;使用保溫材料如保溫棉或泡沫材料進行包裹;選擇具有防凝設計的呼吸閥;在低點安裝排水裝置以排出冷凝水;以及定期檢查和維護呼吸閥及其相關系統等。這些措施將有助于確保呼吸閥在各種環境下都能穩定、安全地運行。 操作優化:通過改進儲罐的操作流程,例如減少儲罐的頻繁周轉,可以降低儲罐內液體的溫度波動,進而減小呼吸閥凍結的風險。 環境監測:利用溫度傳感器等設備實時監控周圍環境溫度,一旦發現溫度降至冰點以下,即可及時采取相應的預防措施。

二、QZF-89全天候防凍防火呼吸閥呼吸量計算安裝技術要求 1.位置選擇規范 高度要求: 安裝于儲罐高點(距罐頂≥0.8m) 避開人孔、清掃孔等開口部位 示例:拱頂罐安裝于頂板中心區域 環境防護: 安裝遮陽棚(防護等級IP55) 設置防雷接地(電阻≤4Ω) 寒冷地區加裝電伴熱系統(維持溫度≥5℃) 2.管道連接標準 導壓管配置: 管徑≥DN15(內壁粗糙度Ra≤0.8μm) 安裝隔離閥(不怕溫≥200℃) 設置排污口(帶手動球閥) 法蘭連接: 螺栓緊固力矩(M16螺栓:120-150N·m) 墊片選用(纏繞式墊片,不怕溫≥300℃) 對中偏差≤0.5mm(使用百分表檢測) 3.特別工況處理 氮封系統: 氮氣管接口距呼吸閥≥1m 氮氣管插入深層200-300mm 示例:DN50氮氣管采用45°斜插方式 防凍設計: 呼吸閥本體纏繞電伴熱帶(功率密度20W/m) 外包硅酸鋁保溫層(厚度≥50mm) 設置溫度傳感器(報警閾值2℃) 
三、QZF-89全天候防凍防火呼吸閥呼吸量計算維護管理規范 1.日常巡檢 檢查項目: 閥盤啟閉靈活性(手動測試力矩≤5N·m) 封口網堵塞情況(透光率≥80%) 螺栓緊固狀態(扭矩復查周期6個月) 記錄要求: 建立巡檢臺賬(含日期、天氣、工況參數) 拍攝閥體外觀照片(存檔周期1年) 記錄環境溫度(端天氣加密巡檢) 2.定期維護 維護周期: 季度維護:清潔閥體、檢查密封件 年度維護:拆解清洗、性能校驗 特別維護:雷雨后檢查防雷裝置 校驗標準: 呼吸閥起跳壓力偏差≤±2%設計值 泄漏率≤0.0001Nm3/h 阻火器壓降≤0.5KPa 3.典型故障處理 閥盤卡滯: 原因:銹蝕、導桿變形 處理:拆解清洗、校正導桿 防預:定期涂抹二硫化鉬潤滑脂 密封泄漏: 原因:密封面損傷、墊片老化 處理:研磨密封面、愈換墊片 防預:選用不易腐蝕密封材料(如PTFE) 阻火器失效: 原因:波紋板堵塞、腐蝕 處理:特別波清洗、替換阻火芯 防預:安裝在線監測系統(壓差報警) 
四、QZF-89全天候防凍防火呼吸閥呼吸量計算典型案例與改進措施 1.某石化企業呼吸閥失效事故 問題描述: 2024年某儲罐因呼吸閥數量不足,導致超壓變形 查看發現:單閥配置通氣量不足,且未考慮氮封系統補氣量 改進措施: 增配同規格呼吸閥(雙閥對稱布置) 優化氮封系統參數(補氣量提升至1.2Nm3/h) 實施效果:儲罐壓力波動范圍縮小60% 2.某LNG儲罐優化實踐 改進方案: 采用智能呼吸閥(集成壓力傳感器、無線通信模塊) 配置遠程監控平臺(實時顯示壓力曲線) 設置三層報警機制(預警、報警、聯鎖停機) 實施效果: 故障響應時間縮短至5分鐘 年度維護成本降低40% 儲罐穩定運行周期延長至5年通過實施上述規范,某企業將呼吸閥故障率從0.8次/年降至0.1次/年,儲罐超壓事故發生率降低90%。建議企業建立數字孿生模型,集成壓力監測、故障預測、能耗分析等功能模塊,實現從"被動維護"到"智能管控"的轉變。對于端工況(如-162℃超低溫),可采用真空多層技術配套呼吸閥系統,提升整體性。 
七、QZF-89全天候防凍防火呼吸閥呼吸量計算通氣孔及呼吸閥設置注意事項 通氣孔的應用:對于揮發性較低、毒性危害程度不高的介質,例如柴油、煤油和消防水,適宜采用環形通氣孔。這類通氣孔通常設置在拱頂罐罐壁的頂層圈板上,旨在實現罐內與外界大氣的自然通風,從而維持儲罐的壓力平衡。 呼吸閥的應用:針對揮發性強或毒性危害程度較高的介質,例如苯、汽油等,應在罐頂配備呼吸閥。這些呼吸閥常與內浮頂罐協同使用,且可與氮封系統結合,以減少介質蒸發、防止外界空氣侵入,從而保持介質的純凈并防止其氧化。 呼吸閥與通氣孔的比較:相較于通氣孔,呼吸閥在降低油品損耗和節約物料方面更為有效。呼吸閥能根據儲罐內壓力的變化自動啟閉,而通氣孔則始終保持開啟狀態,無法有效防止介質的蒸發和泄漏。 避免同時安裝:需注意,同一儲罐不宜同時設置呼吸閥和通氣孔,以免影響呼吸閥調節壓力的功能。通氣孔的持續開啟會干擾呼吸閥對儲罐內外壓力差的調控,進而降低其使用效果。 |